Inicio
Catálogo PDF
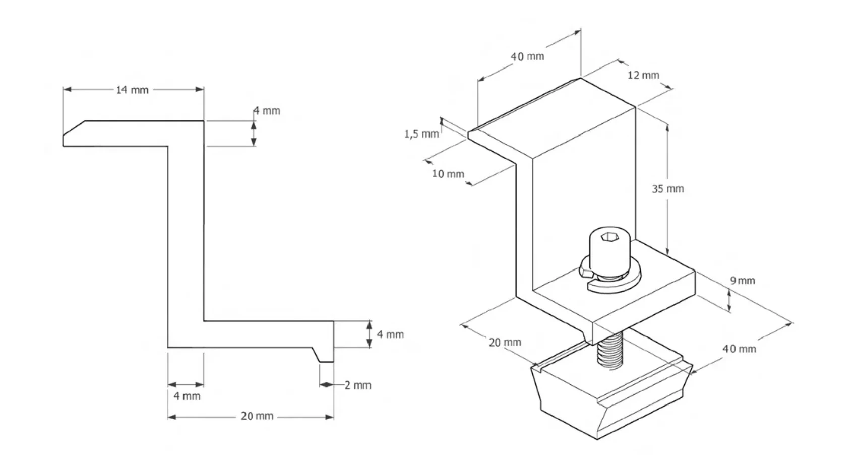
Perfecto ajuste sobre el carril de la estructura.
Rápida colocación en el carril.
Tornillería en acero inoxidable A2. Índice de dureza 70.