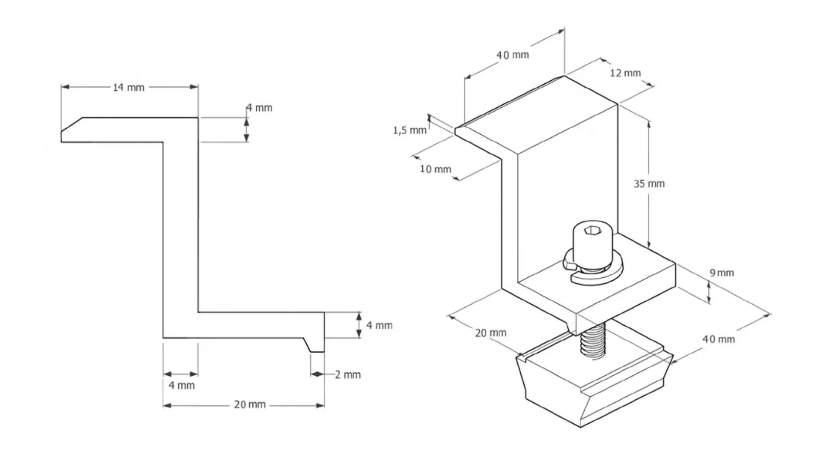
Pinza final 35 negra aluminio anodizada

Pinza final 35 negra aluminio anodizada

Categoría: Subcategoría:

Anodizado en negro para facilitar su integración con paneles solares con perfil oscuro externo en negro o en tejados oscuros.

Facilita el agarre de distintos anchos de placa en la zona final de la instalación.

Muy fácil colocación y regulación en el carril.

Tornillería en acero inoxidable A2. Índice de dureza 70.

Seleccionar variante de producto

Volver a empezar
Longitud (mm)
Largo (mm)
Ancho (mm)
Caja
U.M.V.
Código Longitud (mm)Largo (mm)Ancho (mm)CajaU.M.V.
01053502037354011